| Author |
Message |
rouge
 Newbie
 Joined: 19/05/2010 Location: Posts: 11 |
| Posted: 04:37pm 20 May 2010 |
Copy link to clipboard |
 Print this post |
|
I have a few questions in regards to battery banks. And I know most of them shouldn't happen but in theory how would it be dealt with?
So i know that putting batteries in the same bank that have different amp hour ratings is bad, but I am not entirely sure why it is bad. Could someone explain or point me in the direction of a site or book that does explain this well? Or a good way to deal with this? (there is a thread about this posted sometime in 2009 but it didn't explain why it was bad, i searched through the storage section for a while)
And I'm pretty sure there is no way to fix this by it's self and that it is just a bad idea but lets say I have a 24V charging source and I am charging 2 12V batteries in series that are at different are at different charge levels. Is there a way to tell when one is fully charged to swap it out with another battery? Or a way to avoid damage being done to the battery that is now fully charged while the other battery finishes charging? |
| |
Downwind
 Guru
 Joined: 09/09/2009 Location: AustraliaPosts: 2333 |
| Posted: 05:40pm 20 May 2010 |
Copy link to clipboard |
 Print this post |
|
If you think of them as 2 water tanks of different sizes in capacity by different size in height.
If you fill them together 1 will fill to capacity before the other, so hence 1 will not be fully charged.
If you filled them both to full charge and connected the sprinkler to both, then one would drain down in capacity much quicker than the other.
As you can see you will always have a balance problem with charging and discharging.
Batteries dont like being discharged to deeply and equally they dont like not being fully charged before deep discharging.
So the problem is you stuff both batteries by underchaging one and over discharging the other.
Now if you connected them in parallel as 12v then the problem is not such a issue as the voltage of both is equal and the capacitys are just added together.
It might be a poor explaination and im sure some one else can do better.
Pete.
Ps:- part B of the question is to charge them as 2 x 12 volt batteries.
Edited by Downwind 2010-05-22 Sometimes it just works |
| |
rouge
 Newbie
 Joined: 19/05/2010 Location: Posts: 11 |
| Posted: 06:12pm 20 May 2010 |
Copy link to clipboard |
 Print this post |
|
right, I understand that, I really should have specified putting them in parallel. I know if I have a 24V charging system to put 2 12V batteries with the rate amp hour rating in series, what i'm talking about is putting different amp hour ratings in parallel, I know it isn't the ideal situation, but anything is rarely ideal.
And i'm sorry I don't understand what your Ps: statement is trying to say. |
| |
Downwind
 Guru
 Joined: 09/09/2009 Location: AustraliaPosts: 2333 |
| Posted: 12:09am 21 May 2010 |
Copy link to clipboard |
 Print this post |
|
Hmmm, I just re-read this part
[quote]And I'm pretty sure there is no way to fix this by it's self and that it is just a bad idea but lets say I have a 24V charging source and I am charging 2 12V batteries in series that are at different are at different charge levels. Is there a way to tell when one is fully charged to swap it out with another battery? Or a way to avoid damage being done to the battery that is now fully charged while the other battery finishes charging? [/quote]
Now i am confused with you charging in series in one post and then parallel in the next post.
Can you draw a diagram???
My Chinese made crystal ball from fleabay is faulty.
To clarifie 2x12v batteries connected together to give 24v is 2 batteries in series.
2x12v battereies connected together to give 12 volts is 2 batteries in parallel.
Pete. Sometimes it just works |
| |
rouge
 Newbie
 Joined: 19/05/2010 Location: Posts: 11 |
| Posted: 02:57pm 21 May 2010 |
Copy link to clipboard |
 Print this post |
|
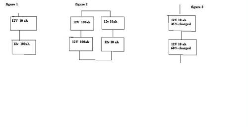
ok so i know figure one is bad, doesn't work, but i'm talking about figure 2 which is not ideal but i have heard conflicting answers as to if that will work or not. Will the 100ah batteries just consume more current than the 10ah and both charge at the same rate?
and then in figure 3 since we don't have a nice easy little meter telling us how much a battery is charged is there a way to do that so that one battery doesn't get damaged while charging.
hope that clears things up, sorry about the confusion |
| |
Downwind
 Guru
 Joined: 09/09/2009 Location: AustraliaPosts: 2333 |
| Posted: 02:11am 22 May 2010 |
Copy link to clipboard |
 Print this post |
|
As i said before i am not the best person to answer this, but as no one else has jumped in with a answer, i will have a go, so not to leave you hanging here.
I dont see a problem with fig 2 as the combinded Ah will be 110 and over all the charge rate will equal out.
Both battery banks will charge at the same rate and reach full charge together.
Same goes for discharge, they will discharge together.
Fig 3 is a problem however.
Each battery needs to be equalized.
If both were charged to full capacity on 12 volts before being placed in series than this would not be a problem situation afterwards.
As both are of the same Ah capacity they would then charge/discharge together.
This is where problems start with using secondhand batterys of not equal usable capacities. The bank will only be as good as the weakest link (battery)
Like the old saying "one bad apple can spoil the lot"...The weak link can prevent the other batterys from discharging to a given level and also inhibit them charging to full capacity.
Think of it like putting 1 flat battery into a flash light with 3 new cells.
The 3 new cells are only as good as the flat cell.
I have seen many 24 volt truck batteries stuffed up because two way radios have been connected to 1 of the 2 x 12volt batteries.
The radio draws one 1/2 of the battery bank down lower than the other half, and creates your figure 3 situation.
Then 1 battery gets deemed as no good and replaced, this then reverses the situation and before long the second battery is replaced reversing the situation again and so on. With a grumpy truckie complaining the batteries are no good.
Solution......Change both batteries together and run the radio off a 24v to 12v regulator that draws from both the batteries keeping things equalized, long battery life and a not so grumpy truckie.
In the case i quoted above the cost of the 24v to 12v regulator was peanuts compared to what was spent on large battery replacements over a short time.
Morral of the story KEEP.. things equal where you can. ( and truckies dont make the best electrians)
Pete.
Sometimes it just works |
| |
SSW_squall
 Senior Member
 Joined: 20/03/2010 Location: AustraliaPosts: 111 |
| Posted: 03:17pm 23 May 2010 |
Copy link to clipboard |
 Print this post |
|
10Ah vs 100Ah is a fair difference in capacity!
Part of the problems that could occur will stem from the fact that the large battery will have a much lower internal impedance than the smaller one
When connected in series, the voltage of the smaller battery could all but collapse compared to the larger battery when delivering large currents under load.
This results in uneven discharge as more energy will lost in the internal impedance of the smaller battery, a similar thing will happen in reverse when charging.
In Parallel is not as bad, but could be a problem when charging, as 40A for a 100Ah battery is a nice rate of charge but is likely to more than a 10Ah battery could handle, resulting in distruction of the smaller battery.
Also batteries in parallel tend to discharge into each other as there is alwasy small differences in the state of charge between the different banks of cells.
AB
Einstein: Everything should be made as simple as possible, but not one bit simpler |
| |